
石子滾筒分機篩簡介:
石子是廣泛上的說法,泛指小石頭、小石塊白石子、彩色石子、黑色石子、碎石、礫石、卵石等,它的大小、形狀、及紋理都呈現不規則狀態。它可能是因為天然原因,或是人為加以破壞之后產生。一般白石子、彩色石子、黑色石子粒徑較小,運用與裝飾工程,而碎石、礫石、卵石適用于結構,市政,公路,鐵路等范圍。
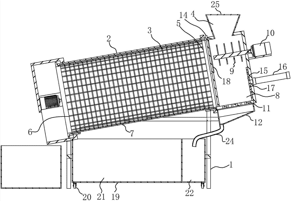
滾筒篩分機是通過變速箱式減速系統對設備中心分離筒實行合理旋轉,中心分離筒是由若干個圓環狀扁鋼圈組成的篩網,中心分離筒安裝是與地平面呈傾斜狀態,工作中物料從中心分離筒上端進入筒網,在分離筒旋轉過程中,細物料自上而下通過圓環狀扁鋼組成的篩網間隔中得到分離,粗物料從分離筒下端排出進入粉碎機。
滾筒篩如何清網:
設備中設有板式自動清篩機構,在分離過程中,通過清篩機構與篩體的相對運動,由清篩機構對篩體進行連續梳理,使篩體在整個工作過程中始終保持清潔,不會因篩孔堵塞而影響篩分效率。
滾筒篩分機是根據物料的顆粒大小進行分級處理的一種選礦設備,又被稱為滾筒篩分機,因工藝布置簡單,被廣泛應用于礦山、建材、交通、能源、化工等行業的產品分級。常用在中、細粒物料的分級篩分,以提高物料的質量。奧創機械可根據用戶的不同實際情況,可專業定制各種型號規格、各種振動方式的高級滾筒篩。
結構特點:
滾筒篩分機具有功率小,能耗低,筒內有自清掃裝置,篩孔不易被堵塞;占用空間小,投資成本降低;運轉平穩可靠; 篩分效率高; 產量大; 工藝布置簡便,安裝、維護方便,操作方便等特點。同時對物料的適應能力強,粘性、濕度大、臟、雜等各種性質的物料都能篩分,進料方式多樣化,即人工方式和機械傳動,能大批量生產,中心篩網采用環狀扁鋼圈設計,耐磨性好,使用壽命長,結構簡單,維修方便。滾筒篩主要由滾筒裝置,減速機,電機,篩內清理裝置,底部支架,密封罩,出料口,進料口等組成。筒體呈傾斜放置,筒體被防塵密封罩罩住,生產過程中幾乎物粉塵和噪音污染。
適用范圍:
滾筒篩主要針對物料的顆粒大小進行分級處理,廣泛應用于電力、礦山、冶金、建材,化工等生產行業。常用于耐火材料,煤炭,砂場石塊的分級,以及煤,焦炭,白灰,砂金礦等粘濕物料的篩選,使產品結構更勻整,以滿足生產需要。
篩分機的工作原理:
電機驅動滾筒軸線作旋轉運動,減速機調節筒體以一定的轉速旋轉,物料由進料口進入筒體內,在旋轉產生的離心力作用下,物料在筒內翻滾,自上而下通過分級篩網析出,由于篩網分級尺寸不同,物料逐漸被分離篩選,粒度合格的物料經篩分后落入到各自的漏斗,然后由人力方式運出或通過輸送機自流送往成品站。合格產品經過下端出料口排出,顆粒較大,分選不合格的產品經另一排料口排出,筒內清理裝置,使篩網不宜被阻塞。